Apple đăng ký sáng chế màn hình tự phục hồi vết nứt vỡ

Apple đang phát triển một giải pháp cho những người dùng iPhone để khắc phục tình trạng màn hình bị nứt vỡ bằng cách sử dụng vật liệu đàn hồi có thể lấy lại hình dạng khi nung nóng.

Công nghệ được Apple đề xuất sẽ sử dụng một vật liệu mềm dẻo, có thể trở lại dạng ban đầu khi được nung nóng để tự sửa chữa màn hình nứt vỡ.
Công nghệ được Apple đề xuất sẽ sử dụng một vật liệu mềm dẻo, có thể trở lại dạng ban đầu khi được nung nóng để tự sửa chữa màn hình nứt vỡ.

Apple đã nộp đơn xin cấp bằng sáng chế mới về màn hình “tự phục hồi” sẽ được hãng này sử dụng trong chiếc iPhone có thể gập lại.

Hỏng màn hình là một trở ngại lớn đối với điện thoại thông minh có thể uốn cong như điện thoại Galaxy Fold của Samsung, vì các hạt bụi bẩn có thể bị mắc kẹt khi gập điện thoại lại và làm xước hoặc móp màn hình.

Apple đăng ký sáng chế màn hình tự phục hồi vết nứt vỡ -0
 Công nghệ tự sửa chữa màn hình dự kiến được Apple sử dụng trong điện thoại gập.

Công nghệ được đề xuất sẽ sử dụng chất đàn hồi, một vật liệu mềm dẻo có thể trở lại dạng ban đầu khi được nung nóng.

Ứng dụng của Apple có thể được sử dụng trong điện thoại, máy tính xách tay, máy tính bảng, đồng hồ và các thiết bị khác.

Cụ thể, ứng dụng “Thiết bị điện tử có lớp phủ màn hình linh hoạt” có lớp ngoài cùng được tạo thành từ thủy tinh trong suốt, nhựa trong suốt, sapphire hoặc các vật liệu trong suốt khác, đóng vai trò như lớp bảo vệ cho mạch điện bán dẫn màng mỏng và màn hình khác cấu trúc.

Apple đăng ký sáng chế màn hình tự phục hồi vết nứt vỡ -0

Hình minh họa từ đơn xin cấp bằng sáng chế của Apple chỉ ra vị trí bản lề trên iPhone có thể gập lại. 

Được sử dụng trong đồng hồ Apple, kính sapphire mỏng hơn, bền hơn và chống xước hơn so với kính Gorilla Glass hiện đang được sử dụng trong hầu hết các điện thoại thông minh cao cấp. 

Đề cập đến lớp vỏ màn hình, bằng sáng chế của Apple cho biết thêm rằng: “Để giúp giảm thiểu số lượng vết lõm, vết xước hoặc các khuyết điểm khác, lớp vỏ màn hình có thể bao gồm một lớp vật liệu tự phục hồi”.

Theo Apple Insider, các chi tiết cụ thể về vật liệu tự phục hồi kỳ diệu này khá ít, ngoại trừ việc nó sử dụng “một lớp chất đàn hồi”.

“Chức năng tự phục hồi có thể xảy ra trong lớp vật liệu tự phục hồi mà không cần nhắc nhở. Thí dụ, khi lớp phủ tự phục hồi bị móp, vật liệu của lớp phủ có thể lấp đầy vết lõm ngay cả khi không có sự can thiệp từ bên ngoài”, bằng sáng chế viết.

Sự phục hồi có thể diễn ra tự động, theo một lịch trình định trước, hoặc trong khi sạc.

Apple đăng ký sáng chế màn hình tự phục hồi vết nứt vỡ -0
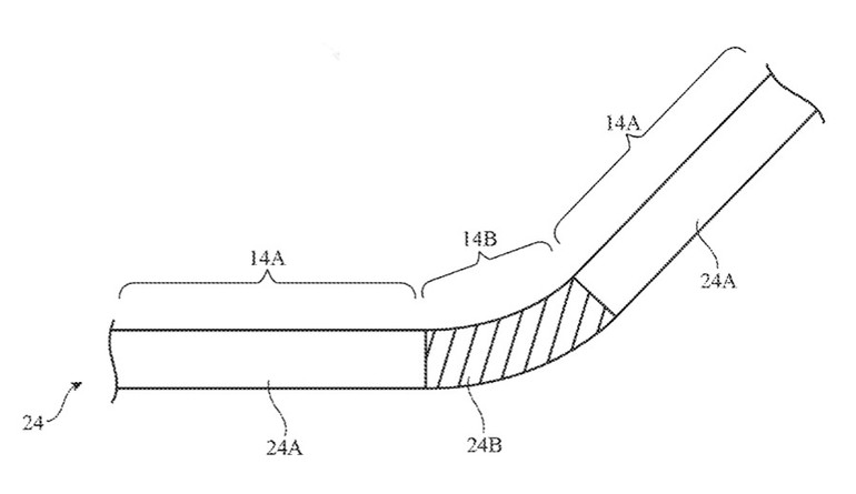
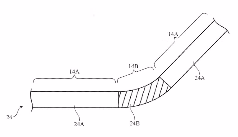
Khả năng là màn hình được làm bằng hai phần vật liệu cứng và một phần vật liệu linh hoạt ở giữa. 

Ngoài ra, quá trình tự phục hồi có thể được bắt đầu hoặc tiến hành nhanh chóng bằng nhiệt, ánh sáng, dòng điện tác động từ bên ngoài hoặc các loại kích thích bên ngoài khác.

Đơn đăng ký sáng chế của Apple nộp từ ngày 28-1, nhưng mới được Văn phòng Sáng chế và Nhãn hiệu Mỹ công bố vào ngày 1-10.

Nó được ghi công cho tám nhà phát minh, trong đó có hai nhà sáng chế Paul Drzaic và Hoon Sik Kim trước đây đã được cấp bằng sáng chế liên quan đến iPhone có thể uốn cong.

Đây không phải là lần đầu tiên Apple xem xét công nghệ tự sửa chữa. Apple đã áp dụng để thêm công nghệ tự phục hồi cho iPhone và iPad của mình vào năm 2014, tương tự như công nghệ được thấy trên thiết bị cầm tay G Flex của LG.

Vào năm 2016, Apple đã được cấp bằng sáng chế cho một hệ thống có thể khắc phục các điểm ảnh chết trên màn hình và thậm chí làm khô các bộ phận bên trong khi bị ướt.

Điện thoại iPhone 12 dự kiến ​​sẽ được công bố vào ngày 13-10 và được đồn đại là điện thoại 5G đầu tiên của Apple.

Nhưng Daily Mail cảnh báo, người dùng đừng mong đợi bất kỳ tính năng nào trong số này sẽ sớm xuất hiện.

Có thể bạn quan tâm